| PL/SQL User's Guide and Reference Release 2 (9.2) Part Number A96624-01 |
|
PL/SQL Language Elements, 20 of 52
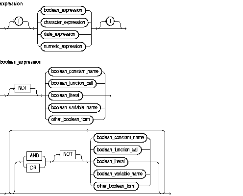
An expression is an arbitrarily complex combination of variables, constants, literals, operators, and function calls. The simplest expression is a single variable.
The PL/SQL compiler determines the datatype of an expression from the types of the variables, constants, literals, and operators that comprise the expression. Every time the expression is evaluated, a single value of that type results. For more information, see "PL/SQL Expressions and Comparisons".




This comparison operator tests whether a value lies in a specified range. It means "greater than or equal to low value and less than or equal to high value."
This identifies a constant of type BOOLEAN, which must be initialized to the value TRUE, FALSE, or NULL. Arithmetic operations on Boolean constants are not allowed.
This is an expression that yields the Boolean value TRUE, FALSE, or NULL.
This is any function call that returns a Boolean value.
This is the predefined value TRUE, FALSE, or NULL (which stands for a missing, unknown, or inapplicable value). You cannot insert the value TRUE or FALSE into a database column.
This identifies a variable of type BOOLEAN. Only the values TRUE, FALSE, and NULL can be assigned to a BOOLEAN variable. You cannot select or fetch column values into a BOOLEAN variable. Also, arithmetic operations on BOOLEAN variables are not allowed.
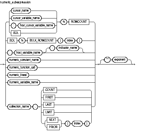
Designed for use with the FORALL statement, this is a composite attribute of the implicit cursor SQL. For more information, see "SQL Cursor".
This identifies a previously declared constant that stores a character value. It must be initialized to a character value or a value implicitly convertible to a character value.
This is an expression that yields a character or character string.
This is a function call that returns a character value or a value implicitly convertible to a character value.
This is a literal that represents a character value or a value implicitly convertible to a character value.
This identifies a previously declared variable that stores a character value.
This identifies a collection (nested table, index-by table, or varray) previously declared within the current scope.
This identifies an explicit cursor previously declared within the current scope.
This identifies a PL/SQL cursor variable previously declared within the current scope.
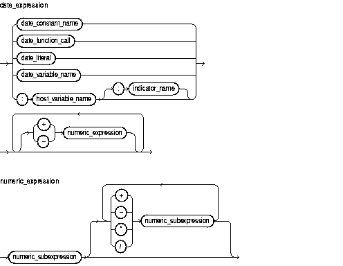
This identifies a previously declared constant that stores a date value. It must be initialized to a date value or a value implicitly convertible to a date value.
This is an expression that yields a date/time value.
This is a function call that returns a date value or a value implicitly convertible to a date value.
This is a literal that represents a date value or a value implicitly convertible to a date value.
This identifies a previously declared variable that stores a date value.
These are collection methods. When appended to the name of a collection, these methods return useful information. For example, EXISTS(n) returns TRUE if the nth element of a collection exists. Otherwise, EXISTS(n) returns FALSE. For more information, see "Collection Methods".
This is an expression that must yield a numeric value.
These are cursor attributes. When appended to the name of a cursor or cursor variable, these attributes return useful information about the execution of a multi-row query. You can also append them to the implicit cursor SQL.
This identifies a cursor variable declared in a PL/SQL host environment and passed to PL/SQL as a bind variable. Host cursor variables must be prefixed with a colon.
This identifies a variable declared in a PL/SQL host environment and passed to PL/SQL as a bind variable. The datatype of the host variable must be implicitly convertible to the appropriate PL/SQL datatype. Also, host variables must be prefixed with a colon.
This comparison operator tests set membership. It means "equal to any member of." The set can contain nulls, but they are ignored. Also, expressions of the form
value NOT IN set
yield FALSE if the set contains a null.
This is a numeric expression that must yield a value of type BINARY_INTEGER or a value implicitly convertible to that datatype.
This identifies an indicator variable declared in a PL/SQL host environment and passed to PL/SQL. Indicator variables must be prefixed with a colon. An indicator variable "indicates" the value or condition of its associated host variable. For example, in the Oracle Precompiler environment, indicator variables can detect nulls or truncated values in output host variables.
This comparison operator returns the Boolean value TRUE if its operand is null, or FALSE if its operand is not null.
This comparison operator compares a character value to a pattern. Case is significant. LIKE returns the Boolean value TRUE if the character patterns match, or FALSE if they do not match.
These are logical operators, which follow the tri-state logic of Table 2-2. AND returns the value TRUE only if both its operands are true. OR returns the value TRUE if either of its operands is true. NOT returns the opposite value (logical negation) of its operand. For more information, see "Logical Operators".
This keyword represents a null; it stands for a missing, unknown, or inapplicable value. When NULL is used in a numeric or date expression, the result is a null.
This identifies a previously declared constant that stores a numeric value. It must be initialized to a numeric value or a value implicitly convertible to a numeric value.
This is an expression that yields an integer or real value.
This is a function call that returns a numeric value or a value implicitly convertible to a numeric value.
This is a literal that represents a number or a value implicitly convertible to a number.
This identifies a previously declared variable that stores a numeric value.
This is a character string compared by the LIKE operator to a specified string value. It can include two special-purpose characters called wildcards. An underscore (_) matches exactly one character; a percent sign (%) matches zero or more characters.
This operator lets you compare expressions. For the meaning of each operator, see "Comparison Operators".
This identifies a cursor opened implicitly by Oracle to process a SQL data manipulation statement. The implicit cursor SQL always refers to the most recently executed SQL statement.
These symbols are the addition, subtraction, division, multiplication, and exponentiation operators, respectively.
This is the concatenation operator. As the following example shows, the result of concatenating string1 with string2 is a character string that contains string1 followed by string2:
'Good' || ' morning!' = 'Good morning!'
The next example shows that nulls have no effect on the result of a concatenation:
'suit' || NULL || 'case' = 'suitcase'
A null string (''), which is zero characters in length, is treated like a null.
In a Boolean expression, you can only compare values that have compatible datatypes. For more information, see "Datatype Conversion".
In conditional control statements, if a Boolean expression yields TRUE, its associated sequence of statements is executed. But, if the expression yields FALSE or NULL, its associated sequence of statements is not executed.
The relational operators can be applied to operands of type BOOLEAN. By definition, TRUE is greater than FALSE. Comparisons involving nulls always yield a null. The value of a Boolean expression can be assigned only to Boolean variables, not to host variables or database columns. Also, datatype conversion to or from type BOOLEAN is not supported.
You can use the addition and subtraction operators to increment or decrement a date value, as the following examples show:
hire_date := '10-MAY-95'; hire_date := hire_date + 1; -- makes hire_date '11-MAY-95' hire_date := hire_date - 5; -- makes hire_date '06-MAY-95'
When PL/SQL evaluates a boolean expression, NOT has the highest precedence, AND has the next-highest precedence, and OR has the lowest precedence. However, you can use parentheses to override the default operator precedence.
Within an expression, operations occur in their predefined order of precedence. From first to last (top to bottom), the default order of operations is
PL/SQL evaluates operators of equal precedence in no particular order. When parentheses enclose an expression that is part of a larger expression, PL/SQL evaluates the parenthesized expression first, then uses the result in the larger expression. When parenthesized expressions are nested, PL/SQL evaluates the innermost expression first and the outermost expression last.
Several examples of expressions follow:
(a + b) > c -- Boolean expression NOT finished -- Boolean expression TO_CHAR(acct_no) -- character expression 'Fat ' || 'cats' -- character expression '15-NOV-95' -- date expression MONTHS_BETWEEN(d1, d2) -- date expression pi * r**2 -- numeric expression emp_cv%ROWCOUNT -- numeric expression
Assignment Statement, Constants and Variables, EXIT Statement, IF Statement, LOOP Statements
|
![]() Copyright © 1996, 2002 Oracle Corporation. All Rights Reserved. |
|