| Oracle9i Real Application Clusters Real Application Clusters Guard I - Concepts and Administration Release 2 (9.2) Part Number A96601-01 |
|
This chapter describes the operation of Oracle Real Application Clusters Guard. It contains the following sections:
This chapter describes the operation of Oracle Real Application Clusters Guard. It is important to distinguish between the automatic actions of Oracle Real Application Clusters Guard and the actions that the user can take when Oracle Real Application Clusters Guard prompts the user. The most typical case is what happens when the primary instance fails, and it illustrates the automatic actions of Oracle Real Application Clusters Guard as well as the control that the user has over the final outcome.
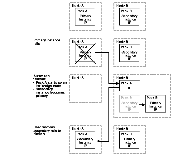
Figure 2-1 shows what happens when the primary instance fails. During normal operation, both Node A and Node B are operational. Pack A is running on its home node, Node A, and has the primary instance role. It contains the primary instance and an IP address. Pack B is running on its home node, Node B, and has the secondary instance role. It contains the secondary instance and an IP address.

If the primary instance fails, then Oracle Real Application Clusters Guard automatically does the following:
Now both Pack A and Pack B are running on Node B. Pack B contains the primary instance and its IP address. Pack A has only the relocatable IP address configured to be up. Nothing is running on Node A.
A notification about the failure is sent to the PFS log. If the user has customized the Oracle Real Application Clusters Guard call-home script to notify an administrator of the failure, then the administrator can use the restore command to restore the secondary instance role. Oracle Real Application Clusters Guard starts Pack A on Node A. Because the instance on Node B now has the primary instance role, the instance associated with Pack A assumes the secondary instance role when it restarts. When both instances are up and operating, the system has resilience.
After Oracle Real Application Clusters Guard fails over the primary instance role, the packs are on their home nodes, but the instance roles are reversed. If you want the primary instance to run on the preferred primary node, then use the move_primary and restore commands. Figure 2-2 shows what happens when you return the roles to their preferred nodes.

Pack A is on Node A and has the secondary instance role. Pack B is on Node B and has the primary instance role. When the user enters the move_primary command, Oracle Real Application Clusters Guard halts Pack B. The secondary instance, which is running on Node A, becomes the primary instance.
When the user enters the restore command, Oracle Real Application Clusters Guard starts Pack B on Node B. Pack B assumes the secondary instance role.
The packs are now running on their home nodes with their original roles.
Figure 2-3 shows what happens when the secondary instance fails.

When the secondary instance fails, Oracle Real Application Clusters Guard sends a notification of the failure to the PFS log. The user must enter the restore command to restore the secondary instance role to Node B. Both packs retain their original roles on their home nodes.
|
Note: When there is any failure in the system, it is important to analyze the cause and repair the problem, as well as to restore resilience. For information about troubleshooting, see Chapter 8, "Troubleshooting Oracle Real Application Clusters Guard". |
Figure 2-4 shows what happens when both instances fail.

Initially, Pack A is on Node A and has the primary instance role. Pack B is on Node B and has the secondary instance role. If the primary instance fails, then the secondary instance assumes the primary instance role and Pack A starts on Node B with only its relocatable IP address configured to be up.
If the other instance fails and cannot be restarted, then Pack A remains on Node B and Pack B is started on Node A. Because both packs are on their foreign nodes, only the relocatable IP addresses are configured to be up. No instances are running.
Because the packs are still running, the user must halt them with the pfshalt command. If the user tries to start the instances with the pfsboot command before halting the packs, then the pfsboot command fails.
|
![]() Copyright © 2001, 2002 Oracle Corporation. All Rights Reserved. |
|